Logic Masters Deutschland e.V.

Hochhäuser mit Gebietssumme II

(Eingestellt am 28. Mai 2010, 12:00 Uhr von Richard)

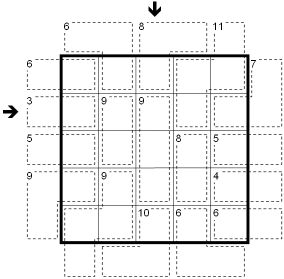
Tragen Sie im fett umrandeten 5x5-Quadrat in jedes Feld ein Hochhaus der Höhe 1 bis 5 so ein das in jeder Zeile und jeder Spalte jede mögliche Höhe genau einmal vorkommt.

Die Zahlen außerhalb der fetten Linie geben jeweils an, wie viele Häuser in der entsprechenden Zeile oder Spalte aus der entsprechende Richtung gesehen werden können. Ein Haus kann gesehen werden, wenn alle Häuser davor niedriger sind.

Die kleinen Zahlen geben die Summe der Ziffern in den markierten Gebieten an. Innerhalb dieser Gebiete dürfen Ziffern sich wiederholen.

Lösungscode: Die markierte Spalte, gefolgt von der markierten Zeile.


Gelöst von Luigi, Statistica, Le Ahcim, Realshaggy, sternchen, saskia-daniela, ibag, Thomas Meier, ManuH, swotty, bergelfe, derwolf23, Laje6, Rollie, pwahs, mikaso, mango, Skinny Norris, martin1456, Hansjo, ... goodcity, isajo4002, DK_48, k2u5as, Greg, Gota, ChampionAsh5357, koiking, Madoka42, Echatsum, rätselnmachtspass, NEWS, chien2000gl, drf93, ArmagedDan, JustinTucker, geronimo92, DylanRay, toboed
Komplette Liste

Kommentare

am 6. Dezember 2023, 11:38 Uhr von Nick Smirnov
Penpa:
https://tinyurl.com/ykaoqemd

am 27. Juni 2021, 20:03 Uhr von ItayGoren
my variation for f-puzzle. disable conflict highlighting
https://f-puzzles.com/?id=yzd9vsl4

am 7. September 2020, 16:21 Uhr von CHalb
@Ulistef: Es sind in der Tat nur die Summen der Gebiete gegeben und du musst auch die Außenvorgaben ermitteln. Die 11 z.B. ist die Summe aus der Hochhausvorgabe über der rechten Spalte und drei Hochhauswerten innen.

am 14. August 2020, 02:57 Uhr von luda3
Fantastic little skyscraper puzzle, thank you very much for sharing :)

am 29. Mai 2010, 18:27 Uhr von Mody
sehr schöne Idee :)

am 28. Mai 2010, 21:28 Uhr von CHalb
Very well done indeed. Thanks, Richard.

am 28. Mai 2010, 17:51 Uhr von cornuto
tolle Idee. Danke Richard.

Schwierigkeit:1
Bewertung:92 %
Gelöst:306 mal
Beobachtet:12 mal
ID:0000LW

Rätselvariante

Lösung abgeben

Lösungscode:

Anmelden